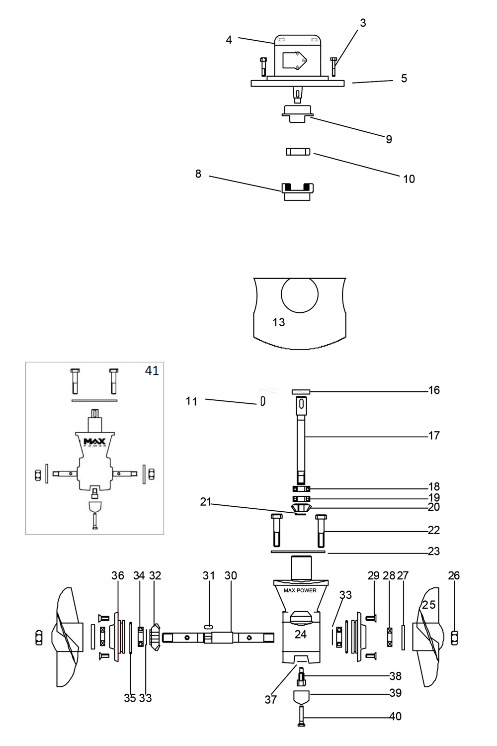
Hydraulic Tunnel Thruster CT HYD 300
* Several versions of each model are available. Please consult your local Max Power distributor.
* Performance data is given for a thruster installed at an immersion depth of one tunnel’s diameter, in a tunnel no longer than twice the tunnel’s diameter, and this within a variation of + / - 6%. Longer tunnels will result in lower thrust ratings and higher power consumption.
* Only available with bronze driveleg
* Performance data is given for a thruster installed at an immersion depth of one tunnel’s diameter, in a tunnel no longer than twice the tunnel’s diameter, and this within a variation of + / - 6%. Longer tunnels will result in lower thrust ratings and higher power consumption.
* Only available with bronze driveleg
| Code | Description | Thrust | Propellers | Power | Weight | A | B | C | D | E |
|---|---|---|---|---|---|---|---|---|---|---|
|
MAXPOWER THRUSTER CT300 HYD 14CC DUO METALLIC Ø300 | 300(kg) / 529(lbs) | 2 | 19,5(kw) | 24(kg) | 240(mm) | 240(mm) | 240(mm) | 300(mm) | 9 - 10(mm) |
Installation Manuals
Data Sheets