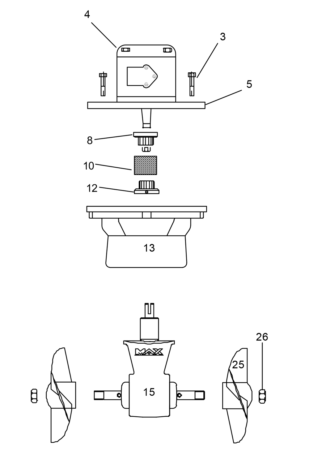
Hydraulic Tunnel Thruster CT HYD 225
The CT HYD 225 is designed for motor yachts and deep footed sailing yachts ranging from 45’-70’. Manufactured using composite materials, this twin propeller model has a 250mm diameter tunnel, a thrust rating up to 225/495 (kg/lbs) and integrates all the unique features of the hydraulic tunnel thruster range.
* Several versions of each model are available. Please consult your local Max Power distributor.
* Performance data is given for a thruster installed at an immersion depth of one tunnel’s diameter, in a tunnel no longer than twice the tunnel’s diameter, and this within a variation of + / - 6%. Longer tunnels will result in lower thrust ratings and higher power consumption.
* Performance data is given for a thruster installed at an immersion depth of one tunnel’s diameter, in a tunnel no longer than twice the tunnel’s diameter, and this within a variation of + / - 6%. Longer tunnels will result in lower thrust ratings and higher power consumption.
| Code | Description | Thrust | Propellers | Power | Weight | A | B | C | D | E | Drive Leg (material) |
|---|---|---|---|---|---|---|---|---|---|---|---|
|
MAXPOWER THRUSTER CT225 HYD 11CC DUO COMPO Ø250 | 200(kg) / 441(lbs) | 2 | 13.5(kw) | 19(kg) | 220(mm) | 220(mm) | 220(mm) | 250(mm) | 7 - 8(mm) | Composite |
| 636762 | MAXPOWER THRUSTER CT225 HYD 11CC DUO BRONZE Ø250 | 220(kgs) / 441(lbs) | 2 | 13.5(kw) | 20(kg) | 220(mm) | 220(mm) | 220(mm) | 250(mm) | 7 - 8(mm) | Bronze |
Installation Manuals
Data Sheets
3D Models